日前,工业和信息化部、国家发展和改革委员会及国家能源局发布《关于开展淘汰落后和化解过剩产能工作督导检查的通知》(工信部联产业【2019】143号)。文件称,为贯彻落实党中央、国务院关于推进供给侧结构性改革的决策部署,巩固“三去一降一补”成果,现就开展淘汰落后和化解过剩产能工作督导检查有关事项问题作出通知。
通知督导检查重点包括2016年以来建设或确认的钢铁、煤炭、水泥、平板玻璃、电解铝项目落实产能置换情况。重点是产能置换方案、项目备案文件、被置换的产能(设备)是否如期退出、相应建设项目进展情况。 2018年执行能耗、环保、质量、安全、技术等法规标准,依法依规淘汰落后产能情况;2019年淘汰落后产能工作方案制定情况。 2018年以来去产能、淘汰落后产能职工安置情况,以及差别化价格等相关政策落实情况。建立健全去产能、淘汰落后产能举报响应机制情况,以及2018年以来举报线索处置情况 。 督查检查方式包括以查阅书面材料代替政府工作汇报会;根据检查重点和问题线索,采取重点检查、随机抽查不打招呼检查、暗访等形式。对《国务院办公室关于对2018年落实有关重大政策措施真抓实干成效明显地方予以督查激励的通报》中予以督查激励的相关县(市、区、旗),原则上实行“免检查”。 督查检查安排7月中旬至8月中旬各省级人民政府按照本通知相关要求开展自查。8月15日至9月15日,由工业和信息化部、发展改革委、能源局、生态环境部、应急管理部、市场监督总局、煤监局司局级负责同志带队,相关部门和行业协会人员参加,组成10个联合督导检查组,开展实地督查检查。具体时间由各督导检查组对接确定。
督查组安排如下:

通知督导检查重点包括2016年以来建设或确认的钢铁、煤炭、水泥、平板玻璃、电解铝项目落实产能置换情况。重点是产能置换方案、项目备案文件、被置换的产能(设备)是否如期退出、相应建设项目进展情况。 2018年执行能耗、环保、质量、安全、技术等法规标准,依法依规淘汰落后产能情况;2019年淘汰落后产能工作方案制定情况。 2018年以来去产能、淘汰落后产能职工安置情况,以及差别化价格等相关政策落实情况。建立健全去产能、淘汰落后产能举报响应机制情况,以及2018年以来举报线索处置情况 。 督查检查方式包括以查阅书面材料代替政府工作汇报会;根据检查重点和问题线索,采取重点检查、随机抽查不打招呼检查、暗访等形式。对《国务院办公室关于对2018年落实有关重大政策措施真抓实干成效明显地方予以督查激励的通报》中予以督查激励的相关县(市、区、旗),原则上实行“免检查”。 督查检查安排7月中旬至8月中旬各省级人民政府按照本通知相关要求开展自查。8月15日至9月15日,由工业和信息化部、发展改革委、能源局、生态环境部、应急管理部、市场监督总局、煤监局司局级负责同志带队,相关部门和行业协会人员参加,组成10个联合督导检查组,开展实地督查检查。具体时间由各督导检查组对接确定。
督查组安排如下:


据水泥人网了解,水泥、平板玻璃产能置换专项检查工作涉及的项目包括新建项目和退出产能情况以及企业自查情况反馈。新建项目,包括企业和项目名称、是否产能置换、置换方案公告时间和地点。以及项目建设开工时间(计划/实际)、投产时间(计划/时间)、项目建设地点、主体设备型号、备案产能。退出产能情况包括企业名称、主体设备型号、产能、关闭时间、拆除时间。 企业自查情况包括:是否跨省置换并召开听证会、产能指标是否符合政策要求、产能指标是否在各地省级公告的生产线清单内、是否存在“批小建大”、用于置换的产能是否按照要求关停和拆除、是否存在其他违反政策法规等情形、产能置换实际执行情况是否与置换方案一致、整改措施及时间安排等。
通知全文如下





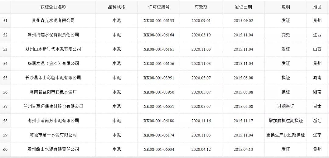
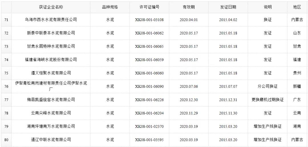
据市场监管总局工业生产许可证办公室数据显示,截止2019年8月2日共有3543条水泥生产许可证记录,涉及三千多家水泥企业;据不完全统计,截止2018年底,全国新型干法水泥生产线累计1681条,设计熟料产能维持在18.2亿吨,实际年熟料产能依旧超过20亿吨。
生产许可证办公室部分数据截图如下:










数据来源:市场监管总局生产许可证办公室,因篇幅有限仅列出部分熟料生产线名单。
附水泥协会水泥产能核实标准(T/CCAS007-2019) 部分截图



附:工信部发布《水泥玻璃行业产能置换实施办法》水泥熟料产能换算表

备注:1、对于变径窑,按其最粗窑径核定产能。2、窑径在上表中两档之间的,按插值法推算其产能。


