目前,华晨集团正与投资者协商兑付事宜,这也是华晨集团史上首次公开市场债券出现违约。要知道,华晨集团背后的股东,一个是为辽宁省国资委持股比例为80%,另一个是辽宁省社保基金会持股20%。结果连10亿元都违约,圈内人士觉得信仰已经崩了。
华晨集团10亿债务违约10月23日,华晨集团规模为10亿元的私募债“17华汽05”到期,有消息称华晨集团未能按期兑付。对此,10月24日华晨集团相关负责人对外表示,“集团正在积极研究解决。
”资料显示,“17华汽05”发行于2017年10月,当前余额10亿元,票息5.3%,期限为3年,应于2020年10月23日到期兑付。有业内人士指,这个违约,对辽宁乃至东三省的债券市场来说,都或许是个历史转折点。公开信息显示,华晨集团是隶属于辽宁省国资委的重点国有企业,辽宁省国资委和辽宁省社保基金理事会分别持股80%和20%,总部坐落于辽宁省沈阳市。华晨集团的历史可追溯到1949年成立的国营东北公路总局汽车修造厂。
1959年,更名后的沈阳汽车制造厂试制成功五台“巨龙”牌载货汽车,由此揭开了共和国长子生产制造汽车的新篇章。目前,华晨集团在辽宁、四川和重庆建有6家整车生产企业,2家发动机生产企业和多家零部件生产企业;拥有4家上市公司(华晨中国汽车控股有限公司、上海申华控股股份有限公司、金杯汽车股份有限公司、新晨中国动力控股有限公司),160余家全资、控股和参股公司,在多个“一带一路”沿线国家建立海外KD工厂。
现有员工4.7万人,资产总额超过1,900亿元。

8月份曾曝出流动性危机8月18日,华晨汽车集团控股有限公司就债券异动发布澄清公告称,目前公司生产经营活动有序开展,到目前为止所有到期债券本息均按时兑付,未有任何违约情况发生。
公告显示,近期华晨汽车发行的公司债券在二级市场出现异常交易,交易价格与中债估值出现较大偏离,引发债券市场及新闻媒体关注。同时,部分媒体出现较多关于华晨集团资信状况的不实言论和报道,对华晨汽车的资本市场形象和投资者利益造成严重负面影响。华晨汽车在公告里称,集团是大型国有企业,承担着深化改革扩大开放、发展区域经济、解决职工就业、扶贫抗疫等重大经济和社会责任。公司将继续坚定履行国企职责,按时兑付到期债券,维护投资人合法权益,充分发挥推动区域经济社会发展的重要作用。8月12日上午,华晨汽车集团旗下多只债券在二级交易市场大跌,一度触发盘中临时停牌。当日收盘,19华汽01下跌28.65%,18华汽01下跌19.93%,18华汽02下跌18%,18华汽03下跌17.16%。
8月初以来,以上债券价格就开始跌跌不休,从近90元下跌至不到60元。8月13日,18华汽01、17华汽01等多只债券发布公告称,自当天起债券交易方式进行调整,仅在上交所固定收益证券电子平台上采取报价、询价和协议交易方式进行交易,恢复竞价交易系统的时间将及时公告。对于债券价格的下跌,华晨汽车集团有关负责人当时回应称,存在部分债券持有者跟风现象,影响公司的债券价格。“一方面,公司作为辽宁省的国企,不会让它出事的,不用太过担心。另一方面,目前财务状况一切正常。”
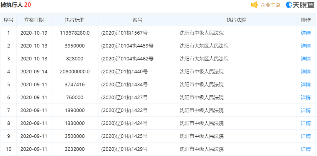
今年以来,华晨汽车集团控股有限公司已经多次被纳入被执行人名单,当前被执行总金额超过5亿。这家千亿级别的老牌国企,正负重前行。
华晨汽车集团信用评级被连续下调,多次被纳入被执行人名单
今年7月开始,债券存量规模高达175亿的华晨集团陷入风波。8月26日、27日,大公国际和东方金诚先后将华晨集团及其多只债券列入评级观察名单。9月29日,东方金诚和大公国际在同一天调低了华晨集团的主体信用评级——东方金诚调低至AA+,大公国际直接调低至AA。10月16日,东方金诚再次将华晨集团的主体信用评级调低至AA-。10月21日,大公国际则将华晨集团主体信用评级调低至A+。
一个月的时间,华晨集团主体信用从AAA下调至A+,连掉4级!评级下调的原因可以总结为一句话:担心华晨集团还不上债。大公评级认为,华晨集团银行授信额度下降,未使用授信额度小,面临一定融资压力。

大公表示,按照2017年9月华晨集团与债权投资计划受托人太平资产管理有限公司签署的《太平一一华晨汽车制造产业升级债权投资计划投资合同》约定,华晨集团应于2020年9月21日划拨季度应付利息。截至2020年10月14日,华晨集团仍未将应付季度利息划拨至债权投资计划托管人账户。而东方金诚很罕见的在债券违约当天就挂出了评级下调公告,华晨集团的主体信用评级再一次断崖式下跌至BBB。


此外,华晨集团也未能按时足额兑付江苏信托-信保盛158号(华晨汽车)集合资金信托计划(下称信保盛158号),江苏信托召开受益人大会,经大会审议、表决,江苏信托向华晨集团发出提前还款的通知书。根据江苏信托所发提前还款通知书显示,华晨集团应于10月12日兑付贷款本金10.01亿元、利息2000万元、罚息668.38 万元。但截至10月15日,华晨集团并未按约定兑付贷款本息。公司2020年债券半年报显示,华晨集团总负债1328.44亿元,扣除商誉和无形资产后,资产负债率为71.4%。现金及等价物余额为326.77亿元。受消息影响,华泰资管旗下多只债券基金大跌,
华泰证券资管称公告称,公司决定自 2020 年 10 月 23 日起对旗下基金所持有的华晨汽车集团控股有限公司发行的 17 华汽 01(代码为 143017.SH)等债券进行估值调整。

同时,公司多次被列入被执行人,涉及多项股权冻结事项。天眼查显示,今年以来,华晨集团频频被列为被执行人,仅9月一个月就高达15次,当前被执行总金额超过5亿。


盈利全靠宝马
华晨集团严重依赖华晨宝马。一直以来,最能让华晨集团赚到钱的,都是合资品牌华晨宝马。2019年,华晨宝马销量在华晨汽车集团所有品牌中高达75%,如果把华晨宝马贡献的利润拿掉,仅凭自主品牌的华晨汽车几乎连年亏损。
2003年华晨宝马成立时,华晨汽车集团通过沈阳金杯汽车工业控股有限公司(简称“金杯汽控”)持有其40.5%股权。这一年,华晨两度增持金杯汽控,使股比扩大至49.5%。到2010年,华晨终于又通过追加增持实现控股华晨宝马50%。
2022年完成调整之后,华晨这半壁江山实际上仅坐拥了一轮地支岁月。若论中国汽车行业上市公司,华晨集团旗下上市公司华晨中国当之无愧是个另类。以利润率而言,这家港股上市的车企几乎可以傲视全球。
2011年以来,华晨中国每年营业收入不过人民币五六十亿元,但净利润却从在18亿到53亿元不等。年度利润最高纪录出现在2014年,53.43亿元将利润率抬高至97.9%,即便以高利润闻名的丰田也不过1/10的水平。
诡异的2018年上半年,利润率高达155.9%,即净利润超过了营收。稍微懂一点财务知识都能知道,联营合营公司按《权益法》提供利润,但营收没有合并,便会将利润指标拔高,从而出现反常的高利润率,吸引投资者。对华晨中国来说,利润便指望着华晨宝马。
2011年至2017年,华晨宝马每年提供给华晨中国的利润为17至55亿元,在后者净利润中占比从94.9%至119.6%不等。换句话说,扣除华晨宝马后,自2012年开始华晨中国其他业务一直亏损。2019年,华晨集团乘用车销量72.18万辆,商用车销量7.86万辆。其中华晨宝马销量54.55万辆,占比高达75%。2019年度华晨中国利润达到67.62亿,同比增长16.18%,但67.62亿的利润之中,华晨宝马贡献了76.26亿元。换言之,除掉华晨宝马贡献的利润,华晨其他业务亏损了8.64亿元。

2018年4月,中国宣布汽车领域合资股比限制放开时间表,计划经过五年过渡期,至2022年汽车行业实现对外资全面开放。
2018年10月,华晨集团发布公告称,拟在2022年前向宝马集团出售华晨宝马汽车25%的权益,交易价格290亿元人民币;同时,宝马集团对华晨宝马的持股比例将从50%将升至75%。届时华晨宝马将不再纳入华晨集团的合并报表范围,按现在的情况来看到时华晨集团的财报将更加惨淡。
2022年,失去华晨宝马的华晨集团,又该如何应对财务压力呢?


