近日因南方雨水天气较多,水泥市场需求下滑,同时周边地区水泥价格回落,湖南衡阳地区水泥价格大幅下跌30-50元/吨;福建部分主流品牌水泥市场报价下跌20-30元/吨;武汉地区水泥价格下跌15元/吨... ...连续数日,华东、西南、中南大半个中国水泥价格“塌方”,就连前几日刚刚通知水泥价格上调50元/吨的河南区域也有企业通知回调水泥价格了。
品牌大战开始,多品牌集体开火
各区域不同企业之间的价差是导致“价格战”的导火索,前几年各区域企业之间竞合协同较好,市场价格相对较稳定,一、二线品牌分属民建市场和重点项目,几乎不存在“打架”的情况。原只是在市场淡季和产能集中度相对较低区域才会出现的“价格战”,近期在各区域愈演愈烈。部分地区一线品牌也加入二线品牌行列与其争夺民建市场份额。
据水泥人网了解,部分企业除自有品牌外还将旗下一个或多个收购、并购或是合资、控股企业的其他品牌一起加入“价格战”,以不同的品牌不同的营销策略,执行不同的价格。表面上看是自己跟自己打“价格战”,其实是为了占领更多的领域,占据更大面积的市场份额。例如国内知名品牌企业海螺水泥、红狮水泥、华新水泥、山水水泥等。
同一企业同一标号两个品牌差价65元/吨
某建材经销商表示,签约了一家大品牌企业,企业要求他将旗下几个品牌一起做推广。同一标号之间价格相差30-50元/吨,企业表示这是不同档次,不同质量标准的产品,满足不同客户需求,让客户“进了门”有多种选择,不会再去其他家的营销“妙招”。
另一经销商则表示,原本经营有同区域几家工厂的不同品牌水泥,价位都差不多,也算是“多种经营”,现在只经营一家企业的产品,同一标号存在很大的价差。看起来推广容易,其实一个品牌好卖势必影响另一个品牌的销量,总归是肉烂在锅里,肥水不流外人田,“包子和馒头”客户需要哪个自己选。
据水泥人网了解,在黑龙江区域曾出现过亚泰集团哈尔滨水泥有限公司水泥价格表天鹅牌M32.5水泥与三岭牌M32.5水泥报价相差65元/吨。

协同涨价期间,用附属品牌来打“价格战”
某水泥集团销售经理对水泥人网表示,现在的水泥企业基本不会把水泥强度做低于国家标准的,通常是为了适应市场需求,生产两个或多个品牌水泥,有一个或几个附属品牌,附属品牌很少出42.5级以及上高标号产品的,基本都是32.5标号,其目的一是占领低端市场,二是增加代理商数目。但是,往往两个或多个代理商会打架,所以生产附属品牌的企业往往是分不同情况的。
可能是主品牌在当地有影响力,有品牌溢价的能力;也可能是附属品牌只出包装,不出散装,或者专门是装修水泥;
还有一种情况,企业采用附属品牌应对水泥协同后的个别公司“不协同”,出尔反尔的现象,但是一般差价也不会很大。也有在当地企业集体协同涨价期间,附属品牌为了抵抗涨价风险,不参予协同,不上调价格的,因此才会有较大的价差。
附属品牌开路,主流品牌跟进,海螺、红狮、华新集体“开战”
据水泥人网了解,国内主导企业多数都有所谓的“附属品牌”。多数附属品牌,属于低端品牌,专门拿来打击边缘市场用的。目前的现状似乎有些戏剧化了,附属品牌打前锋,主品牌做中场、后卫。附属品牌以低价抢滩登陆新市场,主品牌陆续进入,并稳固地位。
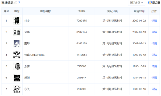
以国际单一品牌海螺水泥为例,据爱企查数据显示,安徽海螺水泥股份有限公司旗下有壮乡、众喜、雪峰、巢湖、东关等7个建筑材料类注册商标。另有镇江北固海螺水泥限责任公司旗下“北固”牌,安徽海螺水泥股份有限公司宁国水泥厂旗下“胜利 VICTORY”牌。

海螺水泥上年刚刚巨资拍下的昌江水泥厂旗下的“椰树”牌目前已划归海螺水泥旗下。而海螺水泥自有品牌“海螺”牌注册商标隶属于海螺集团公司。

据水泥人网了解,海螺水泥通常在收购、并购或控股部分企业后,会将原品牌沿用一段时间,再换成海螺品牌。如张家港海螺水泥有限公司“梁丰”牌,南京海螺水泥有限公司“灵谷”牌、江西庐山海螺水泥有限公司“庐山”牌、安徽枞阳海螺水泥股份有限公司“山牌”、分宜海螺水泥有限责任公司“铃山”牌等目前都处于“无效”状态。
低成本民企龙头企业红狮水泥与海螺水泥类似,也是在收购当地品牌运营一段时间后过渡到自有红狮品牌,或多个品牌同时运营,分属不同的市场区域。据查询浙江红狮水泥股份有限公司旗下拥有红狮牌 HONG SHI、超丰、兰丰、万年桥、钱江、超峰、之江等多个注册品牌。同时其控股企业旗下又拥有不同的品牌。如兰州红狮旗下除拥有自有“红狮”品牌外,还拥有“黄河桥”品牌。
据水泥人网了解,兰州红狮以“黄河桥”品牌为附属品牌。黄河桥牌32.5水泥,主攻边缘市场和二线民建市场,相比红狮品牌同等级水泥价格低15-20元/吨。“黄河桥”品牌在当地市场拥有较好的“民心”,因其价廉物美拥有一定的市场认可度。
国内第一家水泥厂,华新水泥旗下也有华新堡垒、华新师傅、红河、老君山、石林、地维、腾辉等多个品牌水泥。
山东区域主要品牌企业山水水泥旗下主要品牌为“山水东岳”。在东北区域又拥有“山水工源”、“山水东鑫”等品牌,尤其“山水工源”牌,在当地市场拥有大的市场份额。
品牌还在,企业却已“荒”
水泥市场每到淡季,各企业都将传统的营销思路叠加现代的营销手段合并出拳。这真是“横看成岭侧成峰,远近高低各不同。不识庐山真面目,只缘身在此山中。”不论是自有品牌,还是收购、控股品牌,能够维系百年的少之又少。
国内第一家洋灰厂的“马牌”水泥目前隶属于金马启新水泥旗下,企业为单体粉磨站企业拥有Φ4.2×13m水泥磨机1台;曾有“亚洲一号”之称的耀县水泥厂旗下“秦岭”品牌目前已分别许可授权7家粉磨站企业。
启新洋灰厂现在已经是水泥工业博物馆不再生产水泥,而耀县水泥厂自从不再生产水泥以后,便退出水泥市场,上市企业也更名为中再资环转为主营开发、回收、加工、销售可利用资源等项目。
一位从事水泥行业的多年的老工程师表示,现在的企业多用收购来的品牌打“价格战”,质量是按照标准最低要求做的。待占据了一定的市场份额,就将已经做“烂”的品牌废掉、卖掉。然后,再用自己的主导品牌卖“高价”提升盈利。许多老品牌就这样被“毁”了... ...


