水泥质量万里行系列报道
日前,有消费者向水泥人网投诉称,买到的新乡丰收水泥厂的水泥无生产日期,不凝固。




投诉无门,“假水泥”卖真价格
据了解,该消费者于3月初向当地一经销商购买了10吨水泥盖房子。房子即将封顶了,才发现水泥不凝固,目前还剩约7吨水泥。从消费者提供的视频资料可见,水泥块一捏即碎。
现场称重结果显示,两包水泥重191.4斤,一包水泥重96斤,单包袋重均不足100斤(50kg)。
“我已向工商局投诉,厂家也认可是他们的货源,也已取样送第三方检测。施工的是专业的施工团队,一直在当地承揽盖房的工程,应该不存在施工不当或者配比不正确的情况。
这个水泥肯定有问题的,从来没见过这样的水泥,好水泥见水是抠不动的。我们是冲‘天瑞’水泥购买的,结果是个‘假货’!我们可是出的‘大水泥’价格360元/吨,俺可是冲天瑞,结果这个烂水泥给俺真正天瑞的价格,假天瑞的质量。欺负俺爹娘不识字,投诉到质监局,没见他们去查,俺是农民维权太难!”

图源:消费者供图
从该消费者提供的现场图片可见,水泥品牌为“佳丰天瑞”矿渣硅酸盐水泥P.S.A32.5,标称生产企业为新乡市丰收水泥厂,生产许可证号XK08-001-03979。
水泥人网注意到,上述水泥包装袋上标称的“佳丰天瑞”商标申请并未通过。


新乡市丰收水泥厂生产许可证XK08-001-03979,有效期至2024年12月17日,生产地址位于河南新乡辉县市百泉镇西井峪。许可证明细显示,企业为单体粉磨企业,拥有1条粉磨生产线;关键设备为Φ3.2×13m水泥磨机1台。
近期新乡市公布的2022年市抽产品质量监督抽查结果显示水泥行业生产领域共抽检32批次水泥及20批次水泥包装袋全部合格,其中也包括2022年4月26日抽检的新乡市丰收水泥厂生产的一个批次“佳丰”牌矿渣硅酸盐水泥P.SA 32.5,抽检结果为合格。(相关链接:通告:河南新乡32批次水泥,20批次包装袋抽检结果公布)。
而此前市场万里行组委会在河南市场流通领域中抽检的水泥中,标称生产企业所在地为河南新乡的10个批次水泥中有6个批次不合格,不合格率高达60%。


另据水泥人网此前报道,因碰瓷知名品牌水泥被投诉的现象在河南、山东等区域多有发生。区域内知名品牌多被模仿,有些注册商标已经通过,有些未通过注册却一直在用,还有一些直接假冒知名品牌。

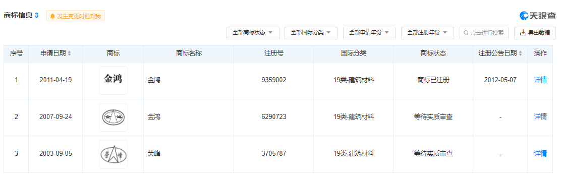
此前有消费者向水泥人网投诉烟台市场上出现一款“鲁东中联LDZL”牌包装水泥,生产企业标称为烟台金鸿建材有限公司,生产许可证编号为XK08-001-03304。
水泥人网注意到,“鲁东中联LDZL ”商标申请人为“王恩水3713***3716”


而烟台金鸿建材有限公司注册商标为“金鸿”并非上述“鲁东中联LDZL”。

标称的生产许可证,已于2022年12月2日到期。

企业新申请的生产许可证编号为(鲁)XK08-001-03304 ,有效期至2022年12月2日。许可范围为1条粉磨生产线,关键设备为Φ3.5m×14m水泥磨机1台。

质量万里行组委会对于烟台市场流通领域的抽检,同样发现了多个高仿碰瓷知名品牌的商标,甚至有将M32.5冒充PP32.5和PC42.5的乱象。
水泥质量万里行组委会
水泥质量万里行组委会将持续在流通领域抽检,配合相关市场监管部门排查水泥质量不合格隐患。同时配合相关部门开展放心消费创建活动和消费教育引导活动,不断提升投诉举报处置效能,接受消费者投诉。
投诉热线:18911461190 17301152862
投诉邮箱:offce@cementren.com


