日前,上海联合产权交易所即上海市公共资源交易中心发布产权预披露项目,水泥人网注意到这则华润水泥(福州)有限公司100%股权预转让的消息中所列企业负债达五千多万元。
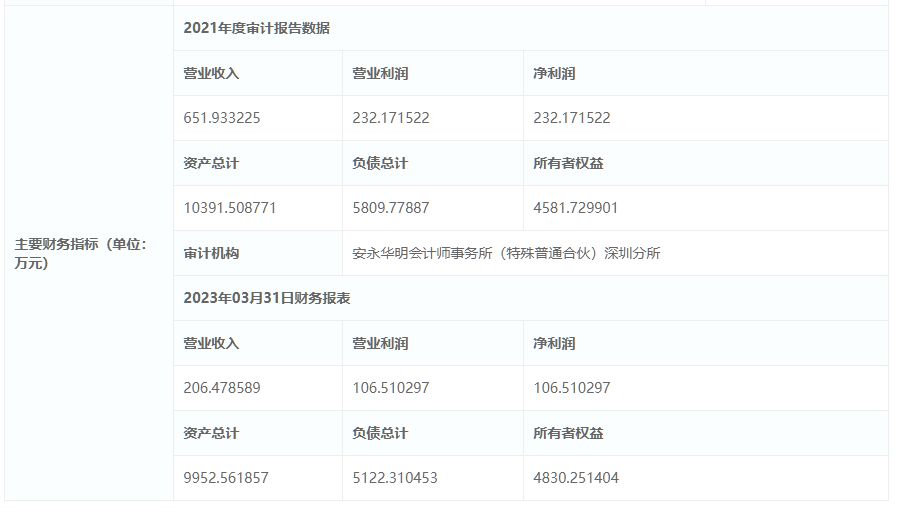
华润水泥(福州)有限公司负债总计5122.310453万元
华润水泥(福州)有限公司企业地址位于福建省福州市马尾区亭江松门顺内从事装卸、仓储经营等。


披露信息中提到的企业主要财务指标显示,2021年度企业利润总额达232.17万元,资产总计达1.039亿元,当年营业收入651.93万元,净利润232.17万元,负债总计5809.77887万元。2023年03月31日财务报表资产总计约9952.561857万元,营业收入206.478589万元,净利润106.510297万元,负债总计5122.310453万元。

葛洲坝崇左建材有限公司100%股权拟转让,负债总计27836.07万元,所有者权益仅100万元
葛洲坝崇左建材有限公司100%股权预挂牌,披露结束日期为2023年5月9日。企业2023年3月31日财务报表显示,资产总计27936.07万元,负债总计27836.07万元,所有者权益100万元。


广西红水河水泥200万股股份以469.89万元底价转让,企业负债总计约3.26亿元
华润水泥投资有限公司旗下广西红水河水泥股份有限公司200万股股份(约占总股本的0.66%)以469.89万元底价转让,企业2022年8月31日财务报表显示,企业营业利润-371.52405万元,净利润-293.582276万元,资产总计101465.456125万元,负债总计32598.5814万元。
冀东水泥矿山、矿车、卸船机、窑生产线设备等资产转让
冀东水泥黑龙江有限公司矿山东采区需剥离的约99.7664万立方米山皮(土)石转让以182.3782万元转让;
冀东水泥(烟台)有限责任公司ATXL300A卸船机两台以132.5305万元底价转让;
唐山冀东水泥股份有限公司唐山分公司28台矿车以247.616万元底价转让;
冀东水泥铜川有限公司7号窑生产线2661项机器设备以5040万元底价转让;
冀东水泥铜川有限公司8号窑生产线869项机器设备以5643.02万元底价转让;
赞皇金隅水泥有限公司原料磨、单段锤式破碎机、生料减速机各一台,分别以177万元、10.1万元、67万元转让。
同期,贵州水晶有机化工(集团)有限公司所属分公司贵州水晶有机化工(集团)有限公司苗岭建材分公司2500吨/日水泥熟料产能指标以6262.164万元底价转让。
浙江衢州巨泰建材有限公司40万吨/年熟料生产线生产指标以5868万元底价转让。
伊春北方水泥有限公司一批矿山存货及废旧设备以1133.1万元底价捆绑转让。
水泥人网注意到,在众多转让成交信息中南方水泥旗下多条熟料生产线及闲置资产为溢价成交。
南方水泥、天山水泥熟料生产线设备、粉磨生产线设备及闲置资产转让成交,最高溢价2133万元
广德独山南方水泥有限公司部分资产(2#熟料生产线原有设备)于4月12日以148.47万元成交,此前披露底价为125.47万元,溢价23万元;
湖南宁乡南方水泥有限公司2500T/d熟料线相关设备和附属构筑物于4月11日以2195.170025万元成交。此前披露底价为971.170025万元,溢价1224万元。
六安南方水泥有限公司1#水泥粉磨生产线废旧类资产于3月20日以165.54万元成交。此前披露底价为121.54元,溢价44万元。
湖南韶峰南方水泥有限公司2500T/d闲置生产线于2月21日以3612万元成交。此前披露底价为2000万元,溢价1612万元。
湖南耒阳南方水泥有限公司花桥分公司4500t/d熟料生产线闲置资产于1月4日以5445.982138万元成交,此前披露价格为3312.982138万元,溢价2133万元。
吐鲁番天山水泥有限责任公司持有的2000吨生产线相关资产于2月15日以2700万元成交,此前披露的价格为2700万元,溢价为0。
除上述5家南方水泥为溢价成交外,多家水泥企业股权、债权、资产转让为0溢价成交。
黎塘暨阳水泥3568.49万元债权,95万元成交
于2023年3月1日成交的GXCQJY22-451广西宾阳县昆仑资产投资发展有限责任公司持有的黎塘暨阳水泥有限公司债权公开转让项目以95万元成交,溢价0元。
水泥人网注意到,本次转让标的为广西宾阳县昆仑资产投资发展有限责任公司持有的黎塘暨阳水泥有限公司债权,债权金额3,568.49万元,其中:本金400.00万元,利息3,168.49万元(计息截至2022年3月31日止),含抵押土地面积共101亩,未办理抵押登记手续,无担保人;由于该债权原属金融机构剥离的不良资产,故债权本身存在瑕疵,此前披露底价即为95万元,成交溢价0元。
绍兴万年青水泥20%股权0溢价成交
绍兴万年青水泥有限公司20%股权于1月17日以204万元成交。企业2022年10月31日财务报表显示,企业净利润-118.042396万元,资产总计3995.744104万元,负债总计5073.874667元,所有者权益-1078.130563万元,此前披露的转让底价为204万元,成交溢价为0。
与此同时,混凝土行业多家企业股权转出信息登上产权交易平台。
北京中联新航建材有限公司100%股权及相关债权
中国联合水泥集团有限公司旗下北京中联新航建材有限公司100%股权及相关债权拟出让。企业经营范围为制造混凝土、预拌砂浆;销售建筑材料、混凝土添加剂、土砂石、尾矿石、山碎石;技术开发;技术咨询;机械设备租赁。
企业2023年3月31日财务报表显示,资产总计195175.92万元,负债总计188615.53万元,所有者权益6560.39万元,营业收入8767.43万元,营业利润-2612.68万元,净利润-2613.15万元。


东莞华润丰诚混凝土有限公司100%股权
东莞华润丰诚混凝土有限公司100%股权预挂牌,企业经营范围为生产和销售预拌商品混凝土。道路货物专用运输(罐式容器)(凭道路运输经营许可证经营)等。
企业2021年营收18444.27万元,净利润402.993万元,负债总计11576.44万元;最近一期营业收入1337.04万元,净利润-55.137万元,负债总计9540.215万元。
江西金宜混凝土有限公司65%股权转让
江西南方水泥持有江西金宜混凝土有限公司65%股权以548.18万元底价转让。企业2023年01月31日财务报表显示,资产总计3038.32万元,负债总计2302.28万元,所有者权益736.04万元。
重庆建工葆晟混凝土有限公司51%股权转让
重庆建工葆晟混凝土有限公司51%股权以380万元底价转让,最新资产总计621.89万元,负债总计815.22万元,所有者权益-193.34万元。
华润混凝土(方山)有限公司100%股权转让
华润混凝土(方山)有限公司100%股权以766.6万元底价转让,2022年08月31日财务报表资产总计1501.48万元,负债1244.72万元,所有者权益256.75万元。
因近两年行业利润持续下行,水泥、混凝土企业资产及股权已沦为“鸡肋”,甚至有多次挂牌或降价仍无人问津的情况出现。公开转让的水泥、混凝土企业中不乏资不抵债,将债权、债务同步出售的情况。


