近日,水泥人网陆续收到多位网友投诉称河北邯郸武安市场流通领域高仿、假冒品牌水泥遍布,给当地主要品牌企业造成一定的影响。据了解,武安主要品牌企业为邯郸市金隅太行水泥有限公司。

资料图:邯郸金隅太行水泥有限责任公司

资料图:邯郸金隅太行水泥有限责任公司正品包装

资料图:邯郸金隅太行水泥有限责任公司正品包装
邯郸金隅太行水泥有限责任公司,成立于2010年,北京金隅集团成员,旗下品牌为“太行山”,为金隅冀东水泥下属企业。

或正因如此,区域内部分粉磨站企业品牌碰瓷“太行”“冀东”“金隅”字样。也有个别粉磨站碰瓷“中联、海螺”等行业知名品牌。
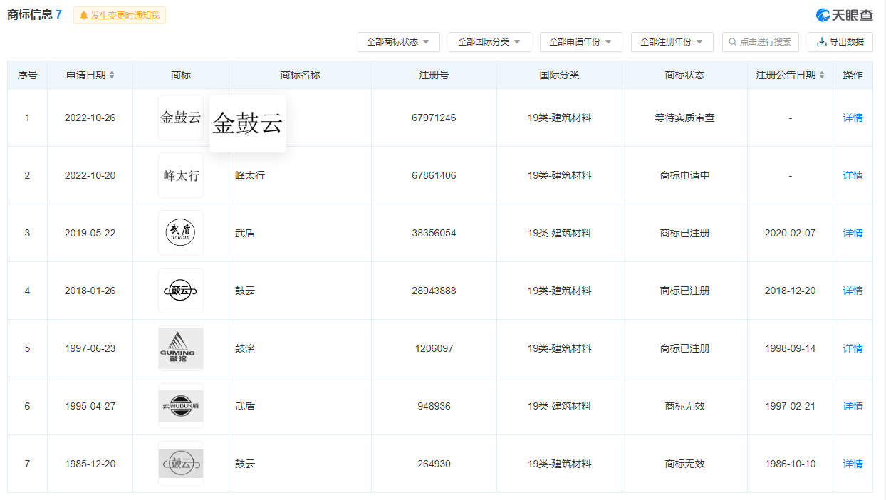
标称生产企业为武安市第三水泥厂


标称内容
品牌:鼓云、鼓洺、武盾
产品类型:矿渣硅酸盐水泥
产品标号/包装类型:P.S.A32.5、P.S.A42.5包装水泥/净含量50kg
生产厂家:武安市第三水泥厂
地址:武安市北安庄乡同会村
据查询:武安市第三水泥厂,法定代表人张海平,工商注册地址位于河北省邯郸市武安市北安庄乡同会村。股权链显示,企业为武安市北安庄乡人民政府100%控股企业。

企业生产许可证编号XK08-001-03816,有效期至2024年10月14日。企业类型为粉磨站,拥有1条粉磨生产线,关键设备Φ3.8×13m水泥磨机1台。

该企业名下共有7条商标信息,其中图形武盾、鼓云、鼓洺3个商标为已注册状态,2022年10月申请的金鼓云商标目前状态为“等待实质审查”;同期申请的“峰太行”状态为“商标申请中”;1995年4月27日申请的图形“武盾”和1985年申请的图片“鼓云”目前为无效状态。上图中标注为“20220921出厂”的产品商标正是1995年4月27日申请的目前为无效状态的图形“武盾”。

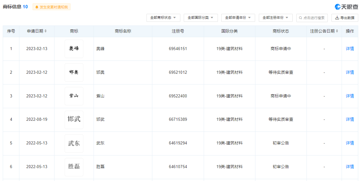
标称生产企业武安市邯武水泥厂

标称内容
执行标准:GB175-2007
生产许可证:XK08-001-02404
矿渣硅酸盐水泥
P.S.A32.5 净含量50kg
商标:武奥牌、胜磊牌、邯武牌
武安市邯武水泥厂
地址:武安市康二城镇洞上村东
据查询,武安市邯武水泥厂法定代表人王腾,工商注册地址为河北省邯郸市武安市康二城镇洞上村东。股权链信息显示,其大股东为康二城镇洞上村委会。

工业品生产许可证编号〔冀〕市监许受字〔2022〕第0000720921002800375号,有效期至2028年04月26日。企业共有10条注册商标信息,上述包装上标称的武奥牌为已注册状态。“胜磊”商标其一为无效状态,另一为初审公告阶段。

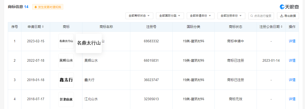
标称生产企业武安市金瑞峰水泥制造有限公司

标称内容
矿渣硅酸盐水泥
P.S.A32.5 净含量50kg
商标:名鼎太行山、金隅太行山
生产厂家:武安市金瑞峰水泥制造有限公司
据查询武安市金瑞峰水泥制造有限公司,法定代表人韩建平。工商注册地址位于武安市北安乐乡康宿村
工业品生产许可证:XK08-001-04980 有效期至2025年05月24日。生产类型为粉磨站;拥有2条粉磨生产线;关键设备为Φ3.5×13m水泥磨机和Φ3.8×16m水泥磨机各1台。
旗下共有14条商标信息,其中2023年2月15日申请的“名鼎太行山”商标目前状态为“商标申请”。“金隅太行山”未查到。
水泥人网注意到,企业旗下与国内知名商标类似的有“昊辉山水、鑫太行”目前状态为已注册状态,“江北山水”商标为无效状态。

据查询,上述包装水泥标称的“金隅太行山”申请企业为河北华鑫筑屋建材销售有限公司,该企业旗下共有13条商标信息,商标名称分别为“金隅太行山”和“冀东太行山”,其中12条商标状态 为“等待实质审查”,1条为“初审公告阶段”。
标称生产企业武安市鼓山水泥有限公司
另一家标称为“金隅太行”品牌的生产企业为武安市鼓山水泥有限公司。

标称内容
品牌:金隅太行
出厂编号:0106
包装日期:2023年01月06日
生产厂家:武安市鼓山水泥有限公司
地址:武安市北安庄村西
据查询,武安市鼓山水泥有限公司法定代表人王利斌,注册地址位于河北省邯郸市武安市北安庄村西。工业产品生产许可证编号XK08-001-02258,有效期至2023年11月28日。企业类型为粉磨站,拥有一条粉磨生产线,关键设备为Φ3.0×13m水泥磨机1台。企业名下有10条商标信息,其中包含2023年3月17日申请的“鼓山海螺”牌。
标称生产企业武安康力水泥制造有限公司

标称内容:
矿渣硅酸盐水泥P.S.A32.5 净含量50kg
品牌:金隅太行
生产企业:武安市康力水泥制造有限公司
厂址:武安市北安乐乡康宿村

标称内容:
矿渣硅酸盐水泥P.S.A32.5 净含量50kg
执行标准:GB175-2007
生产许可证号(冀)XK08-001-00099
品牌:冀东中联
生产企业:武安市康力水泥制造有限公司
厂址:武安市北安乐乡康宿村

标称内容:
矿渣硅酸盐水泥,P.C42.5 净含量50kg
品牌:邯峰太行山
生产企业:武安市康力水泥制造有限公司
据查询,武安市康力水泥制造有限公司法人代表韩彦,企业生产许可证编号﹝冀﹞市监许受字﹝2022﹞第0000400921002000265号 有效期至2028年2月1日。企业类型为粉磨站,拥有1条粉磨生产线,关键设备为Φ3.2×13m水泥磨机1台。企业名下共有16条商标信息,“冀东中联”目前状态为商标申请中。“邯武太行、邯峰太行、紫峰太行、昌兴”等处于“等待实质审查”阶段。
来自河南安阳的“豫冀太行山”品牌
据市场反馈,来自河南安阳区域的两个品牌在邯郸武安流通市场也有出现。“豫冀太行山”品牌,申请人为河南省安阳县益民水泥厂,目前状态为初审公告阶段。


企业为普通合伙企业,企业执行事务合伙人为刘新文,注册地址位于许家沟河西村。企业工业产品生产许可证编号XK08-001-07018,有效期至2025年5月24日。企业类似为粉磨站,拥有3条粉磨生产线。关键设备为Φ3.2×13m水泥磨机2台;Φ3.5×13m水泥磨机1台。

标称“临化”牌的包装水泥,生产许可证已失效,或涉嫌换证生产

标称内容:
品牌:临化牌
矿渣硅酸盐水泥P.S.B32.5,净含量50kg
执行标准:GB175-2007
证可证号:XK08-001-05595
安阳金旺临化水泥有限公司
厂址:安阳县水冶镇西街(大白线西侧)
据查询,安阳金旺临化水泥有限公司,工商注册地址:安阳县水冶镇西街(大白线西侧),法定代表人陈彦红。工业产品生产许可证编号XK08-001-05595,证书有效期至2022年12月16日(已失效)。企业类型为粉磨站,拥有4条粉磨生产线,关键设备为Φ3.2×13m水泥磨机4台。企业标称的生产许可证编号,经查询为失效状态,该企业或涉嫌无证生产。
国家市场监督管理总局产品质量安全监督管理司司长段永升曾表示,要加快修订《产品质量法》,完善产品安全、产品责任、质量基础设施等领域法规。依法严厉打击制售假冒伪劣商品、侵犯知识产权等行为,推进行政执法与刑事司法衔接。同时进一步深化工业产品生产许可证和强制性认证制度改革,强化事前事中事后全链条监管。为配合国家市场监管总局对水泥行业产品质量的监督和水泥行业知识产权的规范,水泥质量万里行组委会市场流通领域抽样将持续进行,将涉及更多的省市地区。
水泥质量万里行组委会
水泥质量万里行组委会将持续在流通领域抽检,配合相关市场监管部门排查水泥质量不合格隐患。同时配合相关部门开展放心消费创建活动和消费教育引导活动,不断提升投诉举报处置效能,接受消费者投诉。
投诉热线:18911461190 17301152862
投诉邮箱:offce@cementren.com


