日前,豫北区域经销商向水泥人网反应称,此前曝光过的包括标称为“鹤壁中联”在内的多个质量不合格水泥仍在销售。经当地专项督查后,有些企业已经被责令停产。但是仍有部分企业还在生产,据说是当地专项督查组调查后“没有发现不合格”。
鹤壁中联被曝不合格后“照样运转”
某经销商反馈称,“这个厂子不是建材集团的水泥,生产好几个牌子,如鹤壁同力、众力山水,还有淇水中联……他们环保很差,多是晚上装车,装车的地方灰尘很多。去年拉的这家水泥‘起砂’,后来就再没拉过了”。

据水泥人网了解,单纯的“起砂”并不能判定为水泥不合格。“起砂”多数是施工养护原因,如混凝土配比不合理,导致混凝土强度低。也可能因养护不好或没养护,表面失水,使表层速干;或者水多了,表面泌水,水干后也会“起砂”。表面收光时间掌握不好都有可能导致“起砂”。若同样的配比,同样的施工养护,其他水泥没有起砂。那就可以考虑是水泥强度低导致混凝土强度低。
“众力山水、鹤壁中联”两批次水泥“氯离子”不符合标准要求
水泥质量万里行组委会相关工作人员介绍称,组委会在豫北区域的抽样,时常令大家感觉惊讶,一些分包站和小作坊无所不能。
据水泥质量万里行组委会反馈,在抽检的不合格水泥中,包括标称生产单位为鹤壁市中联水泥有限公司(以下简称“鹤壁市中联水泥”该企业非中国建材集团旗下企业)旗下的“众力山水”和标称为“鹤壁中联”牌的两个批次P.S.A32.5矿渣硅酸盐水泥样品委托检验报告检验结论均为“氯离子技术指标不符合GB175-2007标准要求,综合判定为该样品不合格”。




据了解,《通用硅酸盐水泥》GB175-2007标准要求,氯离子含量小于等于0.06%。而上述报告显示,标称为“鹤壁中联”牌的P.S.A32.5水泥氯离子含量检验结果为0.32%,超过标准要求的4.3倍;标称为“众山同力”牌的P.S.A32.5水泥氯离子含量检验结果为0.46%,超过标准要求的3.67倍。
多品牌集中,企业喊冤,劣质水泥不是自己的产品
据查询,质量万里行组委会上述抽样标称生产企业“鹤壁市中联水泥有限公司”曾用名:鹤壁市同兴水泥有限公司,法定代表人雷玉锋。企业成立于2010年,位于河南省鹤壁市,是一家以从事非金属矿物制品业为主的企业。
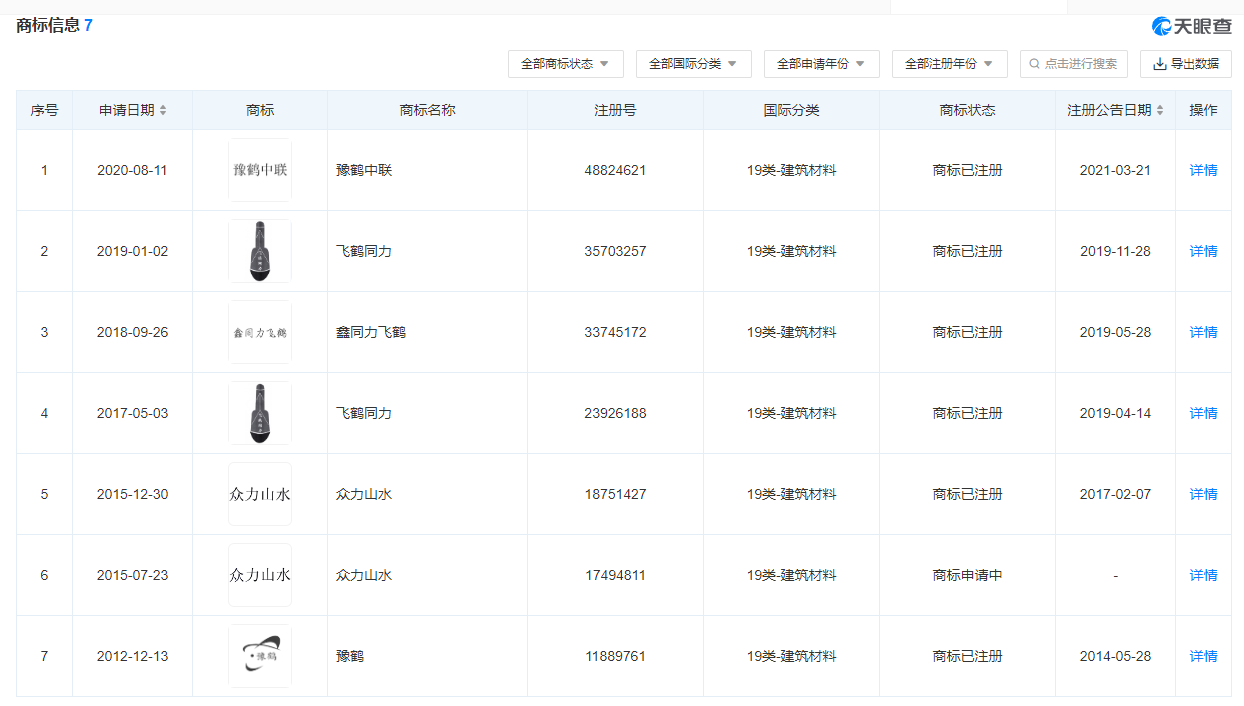
企业共有7条商标信息,豫鹤中联、飞鹤同力、鑫同力飞鹤、众力山水、豫鹤等6个商标分别在2014年5月28日到2021年3月21日期间注册完成。

企业生产许可证编号XK08-001-05731,生产地址位于河南省鹤壁市浚县小河镇赫村村西。生产许可证有效期至2023年12月28日。企业类似为粉磨站,拥有1条粉磨生产线;关键设备Φ3.2×13m水泥磨机1台。
经查询,经销商反馈的“淇水中联”属鹤壁同创水泥有限公司旗下品牌。而“鹤壁同力”未查询相关注册信息。
水泥人网注意到,鹤壁同创水泥有限公司旗下竟有17条商标信息,其中“淇河中联、同铸中联、新河中联、金豫山水、中鹤同力、同铸同力”等9个商标已注册。
企业生产许可证编号(豫)XK08-001-00084,有效期至2027年11月19日。生产类型为粉磨站,拥有1条粉磨生产线;关键设备为Φ3.2×13m水泥磨机1台。
综上,不属于中国建材集团旗下中国联合水泥有限公司的粉磨站“鹤壁市中联水泥”旗下两个批次SPA.32.5水泥被曝光氯离子不合格,企业表示自己被“假冒”了。
截至编辑发稿时止,未有公司表示对上述两个批次不合格水泥负责,这个黑锅究竟该由谁来背?经销商还是消费者?耐人寻味……


