金隅集团(601992)4月2日披露2023年年报。2023年,公司实现营业总收入1079.56亿元,同比增长4.99%;归母净利润2526.28万元,同比下降97.92%;扣非净利润亏损20.28亿元,上年同期亏损5.40亿元;经营活动产生的现金流量净额为71.41亿元,同比下降48.87%;报告期内,金隅集团基本每股收益为0.002元,加权平均净资产收益率为0.04%。公司2023年年度利润分配预案为:拟向全体股东每10股派0.25元(含税)。
报告期内,公司合计非经常性损益为20.53亿元,其中非流动性资产处置损益为11.17亿元。 

以4月1日收盘价计算,金隅集团目前市盈率(TTM)约为819.97倍,市净率(LF)约为0.28倍,市销率(TTM)约为0.19倍。

公司近年市盈率(TTM)、市净率(LF)、市销率(TTM)历史分位图如下所示:



数据统计显示,金隅集团近三年营业总收入复合增长率为-0.02%,在水泥制造行业已披露2023年数据的10家公司中排名第5。近三年净利润复合年增长率为-79.29%,排名9/10。

资料显示,公司主要业务有新型绿色环保建材制造业务、装备制造及贸易服务业务、地产开发业务物业运营业务。
分产品来看,2023年公司主营业务中,大宗商品贸易收入392.26亿元,同比增长20.14%,占营业收入的36.34%;产品销售收入358.50亿元,同比下降12.69%,占营业收入的33.21%;房屋销售收入252.48亿元,同比增长10.41%,占营业收入的23.39%。

2023年,公司毛利率为11.10%,同比下降3.83个百分点;净利率为-1.19%,较上年同期下降2.88个百分点。从单季度指标来看,2023年第四季度公司毛利率为11.68%,同比下降0.60个百分点,环比上升1.70个百分点;净利率为-2.46%,较上年同期上升3.37个百分点,较上一季度下降0.61个百分点。

分产品看,大宗商品贸易、产品销售、房屋销售2023年毛利率分别为2.88%、10.35%、14.76%。

报告期内,公司前五大客户合计销售金额90.08亿元,占总销售金额比例为8.30%,公司前五名供应商合计采购金额155.07亿元,占年度采购总额比例为16.20%。

数据显示,2023年公司加权平均净资产收益率为0.04%,较上年同期下降1.79个百分点;公司2023年投入资本回报率为-5.18%,较上年同期下降7.12个百分点。

2023年,公司经营活动现金流净额为71.41亿元,同比下降48.87%;筹资活动现金流净额-44.63亿元,同比增加82.02亿元;投资活动现金流净额13.24亿元,上年同期为-67.32亿元。
进一步统计发现,2023年公司自由现金流为-33.80亿元,上年同期为72.95亿元。

2023年,公司营业收入现金比为104.24%,净现比为28265.92%。

营运能力方面,2023年,公司公司总资产周转率为0.39次,上年同期为0.36次(2022年行业平均值为0.52次,公司位居同行业15/16);公司应收账款周转率、存货周转率分别为13.66次、0.93次。

2023年,公司期间费用为117.69亿元,较上年同期减少6.57亿元;期间费用率为10.90%,较上年同期下降1.19个百分点。其中,销售费用同比增长1.18%,管理费用同比下降5.64%,研发费用同比增长29.27%,财务费用同比下降15.35%。

资产重大变化方面,截至2023年年末,公司存货较上年末减少13.83%,占公司总资产比重下降3.96个百分点;投资性房地产较上年末增加12.83%,占公司总资产比重上升2.44个百分点;固定资产较上年末增加0.98%,占公司总资产比重上升0.84个百分点;货币资金较上年末增加8.35%,占公司总资产比重上升0.75个百分点。

负债重大变化方面,截至2023年年末,公司应付债券较上年末减少58.10%,占公司总资产比重下降5.29个百分点;合同负债较上年末减少19.33%,占公司总资产比重下降1.70个百分点;一年内到期的非流动负债较上年末增加33.94%,占公司总资产比重上升2.37个百分点;长期借款较上年末增加15.64%,占公司总资产比重上升2.41个百分点。

从存货变动来看,截至2023年年末,公司存货账面价值为31.34亿元,占净资产的4.29%,较上年末减少1080.5亿元。其中,存货跌价准备为2.13亿元,计提比例为6.36%。

2023年全年,公司研发投入金额为5.30亿元,同比增长369.48%;研发投入占营业收入比例为0.50%,相比上年同期上升0.17个百分点。此外,公司全年研发投入资本化率为0。


年报称,2023年公司申请专利近800项,其中发明专利超过170项。
在偿债能力方面,公司2023年年末资产负债率为65.01%,相比上年末下降1.28个百分点;有息资产负债率为37.37%,相比上年末上升1.37个百分点。

2023年,公司流动比率为1.20,速动比率为0.38。

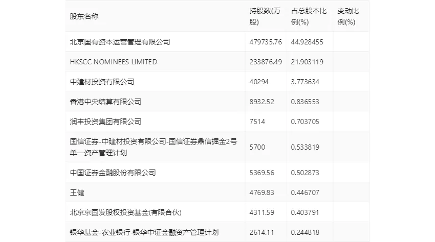
年报显示,2023年年末公司十大流通股东中,新进股东为银华基金-农业银行-银华中证金融资产管理计划,取代了三季度末的中证500交易型开放式指数证券投资基金。在具体持股比例上,香港中央结算有限公司、王健持股有所下降。

筹码集中度方面,截至2023年末,公司股东总户数为11.82万户,较三季度末增长了761户,增幅0.65%;户均持股市值由三季度末的20.01万元下降至17.26万元,降幅为13.74%。



